500X持壓泄壓閥由主閥、泄壓/持壓導閥針閥、球閥、微形過濾器和壓力表組成水力控制接管系統。利用水力自動操作,即可以作泄壓閥用又可作持壓閥用。作泄壓閥用時,可維持供水路壓力在設定的安全值之下;做持壓閥用,可維持主閥上游水壓在設定值之上,保持主閥上游供水壓力。本產品利用水力自力控制,不需要其它裝置和能源,保養簡便,一閥多用。 廣泛用于高層建筑、生活區等供水管網系統及城市供水工程。
產品名稱: | 持壓泄壓閥 | 產品型號: | 500X |
公稱通徑: | DN20~DN600 | 結構形式: | 彈簧式 |
工作壓力: | 1.0MPa~1.6MPa~2.5MPa | 連接方式: | 法蘭 |
適用溫度: | -0ºC~+80ºC | 功能作用: | 泄壓持壓 |
閥體材質: | 鑄鐵、鑄鋼、不銹鋼、黃銅 | 制造標準: | 國標GB、德國DIN、美國API、ANSI |
適用介質: | 水、污水 | 生產廠家: | 浙江嵐勝閥門有限公司 |
500X持壓泄壓閥由主閥、泄壓導閥針閥、球閥、微形過濾器和壓力表組成水力控制接管系統。利用水力自動操作,即可以作泄壓閥用又可作持壓閥用。作泄壓閥用時,可維持供水路壓力在設定的安全值之下;做持壓閥用,可維持主閥上游水壓在設定值之上,保持主閥上游供水壓力。
1、作泄壓閥:當泄壓/持壓導閥調整為泄壓狀態時,水通過針閥、主閥控制室、球閥A、泄壓/持壓導閥、球閥B流向出口,此時主閥處于開啟狀態。當進口壓力超過泄壓/持壓導閥設定的安全值時,泄壓導閥會自動開啟,通過球閥C放出部分水,使管路泄壓。當壓力恢復到安全值時,泄壓閥自動關閉。作泄壓閥時,各球閥常開。
2、作持壓閥:當泄壓/持壓導閥調整為持壓狀態時,只要主閥進口水壓低于導閥設定值,導閥即關閉。主要控制室升壓,主閥關閉。
3、當主閥上游供水壓力超過導閥設定壓力時,持壓導閥才能打開,控制室的水經球閥排至出口,控制室降壓主閥開啟,開始供水,即保持了上游水壓。作持壓閥用時,球閥C常閉或用絲堵換下。
公稱壓(Mpa) | 殼體試驗壓力(MPa) | 密封試驗壓力(MPa) | 適用介質 | 介質溫度(℃) |
1.0 | 1.5 | 1.1 | 水 | 0-80 |
1.6 | 2.4 | 1.76 | ||
2.5 | 3.75 | 2.75 |
零件名稱 | 零件材料 |
閥體閥蓋 | WCB |
閥座閥盤 | 銅合金 |
密封圈 O型圈 | 丁腈橡膠 |
閥桿 | 2Cr13 |
彈簧 | 50CrVA |
針型閥 | 銅合金 |
球閥 | 銅合金 |
浮球閥 | 銅合金 |
微型過濾器 | 不銹鋼 |

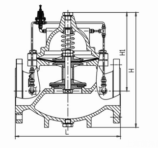
DN | 20 | 25 | 32 | 40 | 50 | 65 | 80 | 100 | 125 | 150 | 200 | 250 | 300 | 350 | 400 | 450 |
L | 150 | 160 | 180 | 200 | 203 | 216 | 241 | 292 | 330 | 356 | 495 | 622 | 698 | 787 | 914 | 978 |
H1 | 463 | 463 | 463 | 463 | 516 | 516 | 520 | 537 | 596 | 653 | 709 | 805 | 953 | 990 | 1030 | 1030 |
H | 557 | 557 | 557 | 610 | 610 | 625 | 642 | 750 | 808 | 864 | 1135 | 1185 | 1325 | 1385 | 1445 | 1445 |